
This bucket elevator is a new product developed using advanced technology imported from abroad. Its main technical parameters meet the standards of the Ministry of Machinery (JB3926-85). It features gravity loading and gravity unloading. The chain is a high-strength, wear-resistant, and reliable plate chain made of high-quality alloy steel. The drive unit utilizes a hardened gear reducer. This elevator is suitable for vertical conveying of medium-sized, large, and abrasive materials (such as limestone, cement clinker, gypsum, and lump coal), with material temperatures below 250°C.
Excellent sealing, minimal environmental pollution, easy operation and maintenance, and few wearing parts.
Low operating costs, thanks to low energy consumption and minimal maintenance.
Reliable operation, advanced design principles ensure the reliability of the entire machine.
Strong structural rigidity and high precision. The casing is folded and ribbed in the middle, then welded for excellent rigidity and attractive appearance.
This series of elevators offers high conveying capacity and is available in various sizes, from NE15 to NE800. Lifting capacity ranges from 15 to 800 m³/h.
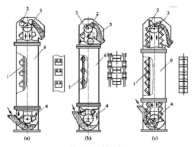
Bucket elevators utilize an inflow feed system. Material flows into the hopper and is lifted to the top by a chain link, where it unloads under gravity. This series of elevators offers a wide range of specifications (11 types, ranging from NE15 to NE800) and boasts large lifting capacities. They also offer high productivity and low energy consumption, making them a promising alternative to other types of elevators. Key parameters are listed in the table below. This fully enclosed housing and low chain speed result in minimal reactive power loss, low noise levels, and a long service life。


Model | Transport capacity(m3/h) | Particlesmm | Density(t/m3) | Lifting heightm | Powerkm |
NE15 | 10~15 | 40 | 0.6~2.0 | 35 | 1.5~4 |
NE30 | 18.5~31 | 55 | 0.6~2.0 | 50 | 1.5~11 |
NE50 | 35~60 | 60 | 0.6~2.0 | 45 | 1.5~18.5 |
NE100 | 75~110 | 70 | 0.6~2.0 | 45 | 5.5~30 |
NE150 | 112~165 | 90 | 0.6~2.0 | 45 | 5.5~45 |
NE200 | 170~220 | 100 | 0.6~1.8 | 40 | 7.5~55 |
NE300 | 230~340 | 125 | 0.6~1.8 | 40 | 11~75 |
NE400 | 340~450 | 130 | 0.6~1.8 | 30 | 18.5~90 |
NE500 | 450~550 | 140 | 0.6~1.8 | 30 | 30~110 |
NE600 | 550~660 | 150 | 0.6~1.8 | 30 | 37~132 |
NE800 | 680~830 | 165 | 0.6~1.8 | 30 | ~160 |
Bucket elevators are the most widely used type of vertical lifting equipment. Suitable for vertical conveying of medium-sized, large, and abrasive materials (such as limestone, cement clinker, gypsum, and lump coal), with material temperatures below 250°C, they are widely used in industries such as building materials, electricity, metallurgy, machinery, chemicals, and mining. The bucket elevator utilizes inflow loading, effectively reducing material wear on the bucket and improving overall performance.
MessageWe provide you with customized Screening SolutionIf you don't know how to choose, please call us or leave a message online. We will be happy to serve you!
Rich Production Experience
Thirty years of dedication have allowed us to accumulate extensive production and service experience, enabling us to solve various challenges in powder processing for our numerous clients.
Complete production line design
We specialize in undertaking the design and production of fine powder processing production lines, offering a one-stop service from crushing, screening, conveying, feeding, mixing to packaging.
High-Quality After-Sales Service
Our company has a well-established after-sales service management system. Customers facing product issues can receive immediate assistance 24/7 via our dedicated support hotline.
Renowned in over 100 countries and regions worldwide, our premium products and services have earned the trust of leading global brands and Fortune 500 enterprises.

